上海仪表价格联盟

计量泵系统附件介绍(上)

只看楼主 收藏 回复
  • - -
楼主


如果您喜欢分享的内容,请点击上方蓝色“胜瑞兰”关注我们。


计量泵是化学药剂投加系统的核心设备,为了计量泵的稳定运行,并达到设备的承诺精度(稳态精度、重复精度和线性精度),有必要在投加系统中配置必要的系统附件。如何配置附件,并充分发挥这些附件的作用是系统工程师的重要工作。在此,小编将系统附件信息做一个汇总介绍,分上下两部分,上部分介绍过滤器、安全阀、背压阀;下部分介绍缓冲器、标定柱,供业内人士参考。


1. 过滤器

过滤器是所有投加系统的进口管路中必需的附件之一。在计量泵投加系统中所使用的过滤器主要是用于液体过滤的过滤器,以保护设备不受颗粒影响,其孔径基本是几十目以上。形式以Y型过滤器居多,对于一些特殊介质,如浓硫酸,会建议采用筒式或篮式过滤器,以提高过滤效果和效率。

过滤器需要进行定期清洗或更换,保证过滤器的流通面积。滤网堵塞会直接影响计量泵的吸入和工作性能,从而影响系统的整体性能和稳定性。如果滤网破损,会失去过滤和清洁作用,会影响计量泵进出口单向阀的正常工作,或者杂质进入系统会影响系统的产品性能和品质。

过滤器的材质可以是PVC、不锈钢、碳钢、碳钢衬胶(衬塑)或者其他合金等等。材质的选择与材质的耐腐性能直接相关。

2. 安全阀

安全阀也被称为压力释放阀。是对投加系统进行超压保护的附件。安全阀根据结构可以分为弹簧式安全阀和杠杆式安全阀;根据安全阀开启方式可以分为微启式和全启式;根据阀体构造可以分为:全封闭、半封闭和敞开式。

在计量泵投加系统中所使用的安全阀主要是全封闭微启式弹簧安全阀为主。当系统出现超压,在压力达到安全阀的设定压力后,安全阀将开启并释放系统内介质,使系统压力降低,在压力降低到安全阀关闭压力时,安全阀将自动关闭。

通常,安全阀的安装方式为垂直安装,可以避免工作时安全阀释放阀头出现偏离,导致阀头回座不严。安全阀的安装位置是尽可能靠近计量泵的出口,在安全阀与泵出口之间不应有截止类阀门,可避免阀门误操作导致安全阀失效。

安全阀的设定压力一般为系统压力的1.1~1.2倍。在确定设定压力时必须考虑系统中所有设备的最低承压能力。

要避免在安全阀的入口处产生气体集聚。气体集聚会直接影响安全阀的正常起跳和释放。

安全阀的选型可以通过计算方法或者参照安全阀工作曲线的方法进行。对于苛刻工艺环境,建议由厂家进行计算,并提供计算书。对于非苛刻工艺环境,可以自己参照安全阀的压力与流量曲线确定阀门的规格。

对于机械隔膜计量泵和柱塞式计量泵,投加系统必需配置安全阀,作为系统保护设备。对于液压隔膜计量泵,建议安装管路安全阀,计量泵的内置安全阀设定压力较高,主要用于泵自身的过载保护。

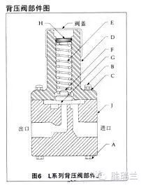
3. 背压阀

背压阀被较多地使用在低压投加系统中,尤其是在一些水处理的低压系统中。在很多低压投加系统中,系统加注点的压力几乎与大气压力一致,表压接近为零;有些化学反应釜内的压力是负压,而储存溶液的储槽或储罐是在地面以上,并保持了一定高度的液位,所以计量泵工作过程中会出现系统投加的实际流量远远大于计量泵设定的投加量的现象。究其原因是系统出现了虹吸现象。

为了防止虹吸现象的产生,必须在投加系统的出口管路中人为的建立一个系统背压,防止虹吸现象的产生。人为建立系统背压的方法有很多,但是采用背压阀是最简单和便捷的方法,并且背压阀的压力是可以根据实际情况进行调整。通常,背压阀的缺省设定压力是3bar。3bar压力不仅是帮助建立了系统背压,同时也保证了计量泵投加精度的要求。要保证计量泵的精度,必须在计量泵的出口与进口之间有不低于2bar的压差。3bar压力可以满足压差的要求。

压阀的压力是通过压缩阀内部的弹簧建立背压的,所以过程介质在顶开背压阀的阀头时,阀门的开度直接会影响弹簧的压缩量,也会影响背压的压力。所以,在一定流量前提下调整的背压,在改变流量以后,背压会随之发生变化。流量降低,背压下降;流量增加,背压升高。

背压阀的通流能力与系统中的流量脉动直接相关。流量脉动大时,背压阀的阀头在反复不断地开关,既磨损过流件,也限制阀门的通过能力。当流量脉动小的时候,背压阀的阀头始终处于浮动开启状态,只随脉动变化有轻微浮动,此时阀门的通过能力也大大提高。所以,背压阀的最佳使用是与缓冲器配合使用。

上部分内容介绍结束,下部分内容介绍待续。请关注“胜瑞兰”公众号,了解更多资讯。


关于胜瑞兰:

胜瑞兰工业设备(苏州)有限公司是一家位于苏州工业园区的中美合资企业,引进国际先进技术,按国际标准专业生产计量泵、水处理分析控制仪表、搅拌机、系统与附件等工业产品,为客户的各种特殊应用提供个性化的解决方案,并提供专业化的一流服务。


关注我们,搜索公众号 SUNRELAND-PUMPS


http://www.sunreland.com.cn/




举报 | 1楼 回复

友情链接