上海仪表价格联盟

专利丨气体涡轮流量计

只看楼主 收藏 回复
  • - -
楼主

点击上方蓝字关注“公众号”


创意无极限,仪表大发明。今天为大家介绍一项国家发明授权专利——气体涡轮流量计。该专利由承德热河克罗尼仪表有限公司申请,并于2016年12月14日获得授权公告。


内容说明

  

本实用新型涉及流量测量领域,具体来说是一种气体涡轮流量计。

  

发明背景

  

现有的气体涡轮流量计采用常规的加油方式加油,只是更换新油,而不会清洗轴承的污垢和粉尘;常规的气体涡轮流量计在叶轮与轴承安装座上也没有防尘设计,这样会造成粉尘等颗粒物进入轴承内部,长期这样使用,会导致气体涡轮流量计的灵敏度降低、轴承的使用寿命缩短。

  

发明内容

  

本实用新型的目的在于提供一种气体涡轮流量计。



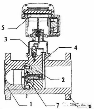
气体涡轮流量计的A-A剖面结构示意图

  

为解决上述技术问题,本实用新型的目的是通过以下技术方案实现的:

  

所述气体涡轮流量计由前导流体、后导流体、压力传感器组件、温度传感器组件、表头、测量体和测量芯组成;所述测量芯位于前导流体和后导流体之中,整体安装于测量体内部,压力传感器组件安装在测量体取压孔上,温度传感器组件的探头略过测量体中心,表头安装于测量体上方,表头与温度传感器组件、压力传感器组件通过过线套连接。

  

所述气体涡轮流量计的轴承安装座上具有二级迷宫结构,基本上杜绝了粉尘颗料进入轴承。二级迷宫结构与主轴承连接,叶轮的重心在主轴承上。所述测量芯,其上叶轮重心在主轴承上,如果不在主轴承上,那么副轴承会有一个反作用力,使得主轴承上的受力为叶轮的重力加上副轴承的反作用力。

  

所述主轴承上安装有加油系统。轴向载荷补偿设计:在A区处,介质的流通面积大于A区的前后的流通面积,这种轴向载荷补偿设计使涡轮下游施加略高于轴向负载的压力,此压力推动涡轮与气体流向相反的方向,限制了施加在轴承上的轴向负载。

  

本实用新型的有益效果在于:本气体涡轮流量计具有独一无二的加油系统,使得气体涡轮流量计中轴承的使用寿命大幅延长。本气体涡轮流量计设计的二级迷宫结构,基本上杜绝了粉尘颗料进入轴承。因为轴向载荷的补偿设计,使得轴承负载较普通仪表降低,不仅提高了轴承的使用寿命,也增加了仪表的灵敏度,提高了仪表的量程比。


仪表君说的你认同吗?喜欢就打赏!


添加仪表君私人微信号 yb061203 

有些话我们悄悄说❤️



·关注仪表君立马瘦十斤·

仪表君

新闻也要有格调



微信号:yb061203









举报 | 1楼 回复

友情链接